Oase chrličový podstavec (měděný vodní prvek)

Kód zboží: 84164
Skladem
16 779 Kč / ks
13 866,94 Kč bez DPH
ks
Oase chrličový podstavec (měděný vodní prvek)
Oase chrličový podstavec (měděný vodní prvek)
16 779 Kč skladem
Popis produktu
Detailní popis produktu
 (2.41 MB)
 (366.67 kB)


Vodní hry a fontány Chrliče » Oase chrličový podstavec (měděný vodní prvek)

Trendy chrličový podstavec v designovém stylu z mědi.

  • Tyto vysoce kvalitní fontánové nádoby a podstavce vyrobené z elegantní mědi dodají jakékoliv zahradě speciální auru. Prvky mohou být použity samostatně nebo v kombinaci s volitelnou měděnou základnou vybranou na základě vašeho vkusu. K dispozici je řada různých designů nádob, od hranatých po kulaté, s výtoky nebo bez. Každá nádoba může být osvětlena zevnitř pomocí LED prstence. Teplota barvy 2 800 kelvinů dodává vodě třpytivý nádech. Měděné nádoby získají postupem času další aspekt vzhledu a kouzlo tím, jak se na tomto kovu vytváří patina.
  • Vyrobeno ze 100% pravé mědi.
  • Neviditelná přípojka kabelu a průchodka pro hadici.
  • Popusťte uzdu své kreativitě při návrhu vodních prvků díky široké škále možných kombinací.
  • Vstup pro vodu a kabelová průchodka (obojí 1½") pro osvětlení z vnější strany jsou neviditelně umístěné ve dně misky.
  • Kreativní vodní prvky díky spoustě možných kombinací.
  • Různé možnosti úpravy, např. v blízkosti terasy nebo v záhonu.
  • K dostání oblé, hranaté, s přípojkou nebo bez ní.
  • Chrličový podstavec pro instalaci vodopádu sestávajícího z dvou měděných misek.
  • Postupem času se tvoří typická atraktivní patina.
  • POZOR: Měď je jedovatá pro ryby. Do vody se mohou dostávat stopová množství mědi, a proto nedoporučujeme používání měděných misek v životním prostoru ryb.

Upozornění:

  • Měděné mísy, podstavce jsou vyrobené z vysoce kvalitní mědi, která působením povětrnostních podmínek časem mění vzhled povrchu a nejedná se o vadu z výroby. U nového výrobku mohou být znatelné rysy zpracování výrobku, které se však postupně stanou neviditelné, jak dochází k typické oxidaci mědi a změně barvy výrobku. 
  • Nepřidávejte do vody sůl a pravidelně čistěte vodní kámen a nečistoty. Otisky prstů doporučujeme odstranit okamžitě.
  • Pokud používáte výrobek jako vodní prvek, přes který protéká voda, může dojít k překročení maximální pro ryby povolené hladiny mědi ve vodě. Tento výrobek je tedy zcela nevhodný pro jezírka s rybami. Tento výrobek není také vhodný pro styk s pitnou vodou.

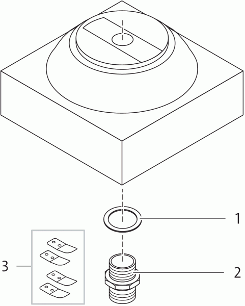
Seznam náhradních dílů na Oase chrličový podstavec máme uveden pod fotogalerií.

Technické parametry

Rozměry: 406 x 406 mm

Materiál: měď

Výška: 203 mm

Hmotnost: 5,5 kg


Upřesnění parametrů pro Oase chrličový podstavec (měděný vodní prvek)

výrobce: Oase

Parametry
Záruka
2 roky
Běžná cena
16 779 Kč